Nel gas distribuito sono presenti impurezze e particelle solide che aumentano la loro quantità in seguito alla posa e saldatura di nuove tubazioni. Le apparecchiature, le valvole, i contatori volumetrici, i regolatori ed i riduttori di pressione lavorano con tolleranze meccaniche tali che queste particelle possono danneggiarli o bloccarli.
Si rende quindi necessario il montaggio di un filtro a monte dei gruppi di distribuzione, riduzione, misura.
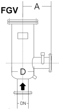
I filtri serie FG sono progettati per questo servizio, molto versatili, sicuri, di facile manutenzione, costruiti in varie tipologie, FGA con attacchi in asse, FGS con attacchi a squadra ed FGV verticali. Prodotti in varie dimensioni per diverse portate sono adatti a filtrare gas naturale, propano, gas manifatturati, aria ed altri gas non aggressivi. Sono di robusta costruzione ed è possibile realizzarli con misure caratteristiche particolari su richiesta del cliente per soddisfare ogni esigenza di sostituzione o di nuovo impianto.
Sono dotati di serie di attacchi filettati specifici per lo spurgo e per il montaggio di manometri e/o indicatori d’intasamento; montano cartucce filtranti unificate Serie G o Serie F di nostra produzione con gradi di filtrazione standard di 5, 25 o 50 micron.
Filtri per Gas Naturale, Propano, Aria ed altri gas non aggressivi, robusta costruzione di carpenteria, per cartucce filtranti "serie G".
Possibilità di realizzazione con misure caratteristiche particolari su richiesta.
I dati riportati sono indicativi e soggetti a variazione senza preavviso
scheda tecnica
TABELLA DIMENSIONALE
Caratteristiche costruttive e tecniche
Pressione massima di progetto
Filtro a cartuccia in acciaio a tre vie
Pressione massima di esercizio
Interamente ricavato dal pieno su macchina CNC
Temperatura di progetto
Filettati 1" Filettato Femmina
Flangiatura bocchelli
Sistema di sicurezza, con sfiato del filtro prima dell' apertura
Materiale
Acciaio al carbonio
Varie
- Attacchi per manometro e/o indicatore d' intasamento
- Attacchi di spurgo
Opzioni
- Rubinetto e Manometro
- Indicatore d' intasamento
- Valvola di spurgo























